取付方法の説明。
表札の取付け方法について
表札は取付ける壁面や表札のタイプにより取付け方法に違いがございます。一般的な取付け方法を説明させて頂いておりますのでご希望の表札の取付け方法をご確認ください。
また、大まかな説明のためご不明な点や説明の無いタイプの取付け方法についてもご相談させて頂きますのでお気軽にお問合せください。
●取付け方法の説明 下記商品よりご希望の表札の形状をご選択ください。詳細ページに移動します。
■飾止め付きの表札■平板の表札
■テラコッタの表札
飾止め付きの表札を取付ける
![]() |
色ガラスやフラットガラスのようにガラスが透けて見える素材や表札を壁面から浮かせて取り付けたい場合は、表札の裏面から出るネジやボルトで壁に固定して取り付けます。
壁面に穴を開けることが出来ない場合は背面プレートを追加して接着剤または粘着テープを利用して取付ける方法になります。
コンクリート、サイディング、平坦な塗り壁など金属面や平坦面への取付け方法
● 取付タイプ A
1. 取り付け場所の位置決めをします。
2. 指示書に従い壁面に穴を開けます。
3. 壁の穴に接着剤を流し込みます。
4. 表札本体のボルトを壁面の穴に差し込んで取り付けます。
5. 接着剤が硬化するまで固定、防水してください。
* 取り付け位置は鉛筆で軽く記しを付けてください。
* 接着剤は市販の屋外用をお買い求めください。
* 接着剤は表札からはみ出さないように付けすぎに注意してください。
● 取付タイプ B1 (木壁や金属壁、サイディング壁にご利用ください。)
1. 取り付け場所の位置決めをします。
2. 指示書に従い壁面にガイド用の穴を開けます。
3. 壁の穴に接着剤を流し込みます。
4. 表札本体のネジを揉み込んで取り付けます。
* 取り付け位置は鉛筆で軽く記しを付けてください。
* ガイド用の穴は2ミリ程度の細い刃先で開けてください。
* インパクトドライバーは使わないでください。また締めすぎで破損の恐れがございます。
● 取付タイプ B2 [アンカー] (下地がブロックやコンクリートパネルの塗壁やコンクリート壁にご利用ください。)
1. 取り付け場所の位置決めをします。
2. 指示書に従い壁面に穴を開けます。
3. アンカープラグをセットします。
4. 表札本体のネジを揉み込んで取り付けます。
* 取り付け位置は鉛筆で軽く記しを付けてください。
* アンカープラグは商品に付属しております。
* インパクトドライバーは使わないでください。また締めすぎで破損の恐れがございます。
● 取付タイプ C (取付け用の穴を開けずに取付け出来ます。)
C1タイプ粘着テープと接着剤との併用になります。重量のある表札や壁面に多少の凹凸のある壁面にご利用ください。
C2タイプは平坦なサイディング壁やコンクリート壁、機能門柱の金属壁にご利用ください。
1. 取り付け場所の位置決めをします。
2. 取付け面を清掃して良く乾かします。
3. 表札にセット済みの粘着テープの保護シールを剥がし周りに接着剤を塗ります。(C2タイプは接着剤は不要です。)
4. 表札を壁面に貼り付けます。
5. 接着剤が硬化するまで固定、防水してください。(C2タイプは接着剤は不要です。)
* 取り付け位置は鉛筆で軽く記しを付けてください。
機能門柱への取付け方法
機能門柱の場合、メーカーや門柱のタイプにより表札の取付け方法が異なります。
また、既に取付けてある表札を取り替える場合は既設のネジを利用する方法や既設のネジ穴を利用する方法となります。
機能門柱の表札はサイズやネジ穴の位置、取付け方法など門柱に合わせての製作となります。
以下タイプ別に取付け方法を説明させて頂きますが分かる範囲で構いません、門柱のメーカー名と門柱名をお知らせください、門柱に合わせて製作させて頂きます。
その他取付けについて不明な点がございましたら気軽にお問合せ下さいご説明させていただきます。
[既設の穴を利用して表札を取付ける](門柱壁に穴が開いている場合)
表札取付け用の既設の穴の間隔、ネジの形状と直径をお調べください。
門柱取付け用に製作させて頂きます。
● 取付タイプ MA-1 門柱壁の裏面からナットで表札を固定します(裏から作業します。)
1. 表札のボルトを門柱壁に差し込みます。
2. ボルトにナットをセットして締め込んで固定します。
* ナットの締めすぎに注意してください。
● 取付タイプ MA-2 門柱壁の裏面から皿ネジで表札を固定します(裏から作業します。)
1. 表札本体を壁穴に合わせます。
2. 門柱壁の裏から皿ネジをねじ込みます。
* 皿ネジの締めすぎに注意してください。インパクトドライバーは使わないでください。
● 取付タイプ MB 表札のネジをもみ込んで固定します(表から取付け作業できます。)
1. 表札本体を壁穴に合わせます。
2. 表札本体のネジをドライバーでねじ込みます。
* ネジの形状とネジの直径をお調べください。弊社でご用意させて頂きます。
* 既設ネジをご利用の場合はお知らせください。本体のみ製作させて頂きます。
* ネジの締めすぎに注意してください。インパクトドライバーは使わないでください。
● 取付タイプ MBT 門柱壁にターンナットを差し込んで表札を固定します(表から取付け作業できます。)
1. ターンナットを門柱壁に差し込みます。
2. 表札本体をターンナットに合わせます。
3. 表札本体のネジをドライバーでねじ込みます。
* ターンナット差込用に事前に門柱壁の穴を大きくする必要がございます。
* ネジの締めすぎに注意してください。インパクトドライバーは使わないでください。
* 背面プレート追加で貼付けて取付けるCタイプもご利用頂けます。
● 取付タイプ M (門柱壁に穴が開いてない場合)
表札取付け用の壁面が裏から作業ができるかどうかをお調べください。
門柱取付け用に製作させて頂きます。
1. 作業指示書に従って門柱壁に穴を開けてください。
2. タイプ別に作業を進めてください。
* 背面プレート追加で貼付けて取付けるCタイプもご利用頂けます。
● 取付タイプ C (門柱壁の取付け用の穴の有無に係わらず取付け出来ます。)
C1タイプ粘着テープと接着剤との併用になります。重量のある表札や壁面に多少の凹凸のある壁面にご利用ください。
C2タイプは金属面やフラット面にご利用ください。
1. 取り付け場所の位置決めをします。
2. 取付け面を清掃して良く乾かします。
3. 表札にセット済みの粘着テープの保護シールを剥がし周りに接着剤を塗ります。(C2タイプは接着剤は不要です。)
4. 表札を壁面に貼り付けます。
5. 接着剤が硬化するまで固定、防水してください。(C2タイプは接着剤は不要です。)
* 取り付け位置は鉛筆で軽く記しを付けてください。
でこぼこの多い塗壁への取付け方法
● 取付タイプ B2
1. 取り付け場所の位置決めをします。
2. 指示書に従い壁面に穴を開けます。
3. アンカープラグをセットします。
4. 表札本体のネジを揉み込んで取り付けます。
* 取り付け位置は鉛筆で軽く記しを付けてください。
* アンカープラグは商品に付属しております。
* インパクトドライバーは使わないでください。また締めすぎで破損の恐れがございます。
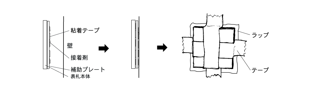
表札の固定方法
・ 表札を貼り付けたら全体をラップで覆う
・ 次に養生テープで全体を固定して表札が動かないようにする
タイル壁への取付け方法
タイルの大きさや厚さによって取り付け用の穴の位置が違います。
タイルが薄い場合はタイルを貫通して壁に穴を開けますが
タイルが厚い場合はタイルの目地を利用して穴開けすることをお勧めします。
タイルの目地を利用する場合は表札のボルトの位置を変更させて頂きますのでご希望の間隔をお知らせください。
● 取付タイプ AT
1. 取り付け場所の位置決めをします。
2. 指示書に従い壁面に穴を開けます。
3. 壁の穴に接着剤を流し込みます。
4. 表札本体のボルトを壁面の穴に差し込んで取り付けます。
5. 接着剤が硬化するまで固定、防水してください。
* 取り付け位置は鉛筆で軽く記しを付けてください。
* 接着剤は市販の屋外用をお買い求めください。
* 接着剤は表札からはみ出さないように付けすぎに注意してください。
表札の固定方法
・ 表札を貼り付けたら全体をラップで覆う
・ 次に養生テープで全体を固定して表札が動かないようにする
枕木やログハウスなど木の壁への取付け方法
● 取付タイプ B1
1. 取り付け場所の位置決めをします。
2. 指示書に従い壁面に穴を開けます。
3. 壁の穴に接着剤を流し込みます。
4. 表札本体のボルトを壁面の穴に差し込んで取り付けます。
5. 接着剤が硬化するまで固定、防水してください。
* 取り付け位置は鉛筆で軽く記しを付けてください。
* ガイド用の穴は2ミリ程度の細い刃先で開けてください。
* インパクトドライバーは使わないでください。また締めすぎで破損の恐れがございます。
平板の表札を取付ける
タイルやカラーガラスなど背面が透けて見えない素材の場合は表札を壁面に直接貼り付けて取付けます。
壁面の素材によって取付け方法が異なりますので表札別の案内を参考にしてください。
また、補助プレートを追加することで表札を壁面から浮かせて取付けたり表札の立体感を出すことも出来ます。
平板表札 機能門柱、コンクリート、サイディングなど金属面や平坦面への取付け方法
● 取付タイプ F1 (塗り壁やサイディング壁で多少の凹凸のある壁面にご利用ください。)
1. 取り付け場所の位置決めをします。
2. 取付け面を清掃して良く乾かします。
3. 表札に粘着テープを貼り付け次に接着剤を塗ります。
4. 表札を壁面に貼り付けます。
5. 接着剤が硬化するまで固定、防水してください。
* 取り付け位置は鉛筆で軽く記しを付けてください。
* 接着剤は市販の屋外用をお買い求めください。
* 接着剤は表札からはみ出さないように付けすぎに注意してください。
* 粘着テープは接着剤が乾くまでの簡易的なものです。必ず固定、防水してください。
表札の固定方法
・ 表札を貼り付けたら全体をラップで覆う
・ 次に養生テープで全体を固定して表札が動かないようにする
● 取付タイプ F2 (機能門柱の金属面やフラットなサイディングの壁面にご利用ください。)
1. 取り付け場所の位置決めをします。
2. 取付け面を清掃して良く乾かします。
3. 表札にセット済みの粘着テープのシールを剥がし、位置を確認して壁に貼り付けます。
4. 取付け完了です。
* 取り付け位置は鉛筆で軽く記しを付けてください。
平板表札 でこぼこの多い塗壁への取付け方法
● 取付タイプ FPB
1. 取り付け場所の位置決めをします。
2. 指示書に従い壁面に穴を開けアンカープラグを取り付けます。
3. 補助プレートを壁面に取り付けます。
4. 表札に粘着テープを貼り付け次に接着剤を塗ります。
5. 表札を補助プレートに貼り付けます。
6. 接着剤が硬化するまで固定、防水してください。
* 取り付け位置は鉛筆で軽く記しを付けてください。
* 接着剤は市販の屋外用をお買い求めください。
* 接着剤は表札からはみ出さないように付けすぎに注意してください。
* 粘着テープは接着剤が乾くまでの簡易的なものです。必ず固定、防水してください。
表札の固定方法
・ 表札を貼り付けたら全体をラップで覆う
・ 次に養生テープで全体を固定して表札が動かないようにする
平板表札 かさ上げして立体感を出す取付け方法
● 取付タイプ FP
1. 取り付け場所の位置決めをします。
2. 取付け面を清掃して良く乾かします。
3. 表札に粘着テープを貼り付け次に接着剤を塗ります。
4. 表札を壁面に貼り付けます。
5. 接着剤が硬化するまで固定、防水してください。
* 取り付け位置は鉛筆で軽く記しを付けてください。
* 接着剤は市販の屋外用をお買い求めください。
* 接着剤は表札からはみ出さないように付けすぎに注意してください。
* 粘着テープは接着剤が乾くまでの簡易的なものです。必ず固定、防水してください。
表札の固定方法
・ 表札を貼り付けたら全体をラップで覆う
・ 次に養生テープで全体を固定して表札が動かないようにする
平板表札 壁面から表札を浮かせた取付け方法
● 取付タイプ FPA
1. 取り付け場所の位置決めをします。
2. 指示書に従い壁面に穴を開けます。
3. 壁の穴に接着剤を流し込みます。
4. 補助プレートのボルトを壁面に差し込んで取り付けます。
5. 表札に粘着テープを貼り付け次に接着剤を塗ります。
6. 表札を補助プレートに貼り付けます。
7. 接着剤が硬化するまで固定、防水してください。
* 取り付け位置は鉛筆で軽く記しを付けてください。
* 接着剤は市販の屋外用をお買い求めください。
* 接着剤は表札からはみ出さないように付けすぎに注意してください。
* 粘着テープは接着剤が乾くまでの簡易的なものです。必ず固定、防水してください。
表札の固定方法
・ 表札を貼り付けたら全体をラップで覆う
・ 次に養生テープで全体を固定して表札が動かないようにする
テラコッタ表札の取付け方法
1. 付属のボルトを接着剤で表札に取り付けます。
2. 壁面にドリルでボルトより少し大きめの穴をあけます。
3. 表札と壁にも接着剤を塗る。
4. 表札を壁の穴に差込みます。
5. 接着剤が硬化するまで固定、防水してください。
* 取り付け位置は鉛筆で軽く記しを付けてください。
* 接着剤は市販の屋外用をお買い求めください。
* 接着剤は表札からはみ出さないように付けすぎに注意してください。
表札の固定方法
・ 表札を貼り付けたら全体をラップで覆う
・ 次に養生テープで全体を固定して表札が動かないようにする
* テラコッタは表札に厚さがあり重量もございますので接着剤が乾くまで固定、防水を十分に行ってください。

















